专利数据库
统计分析
产业报告
专利数据监控
产业人才
行业动态
产业政策法规
维权援助
个人中心
详情
文本
图像
标题
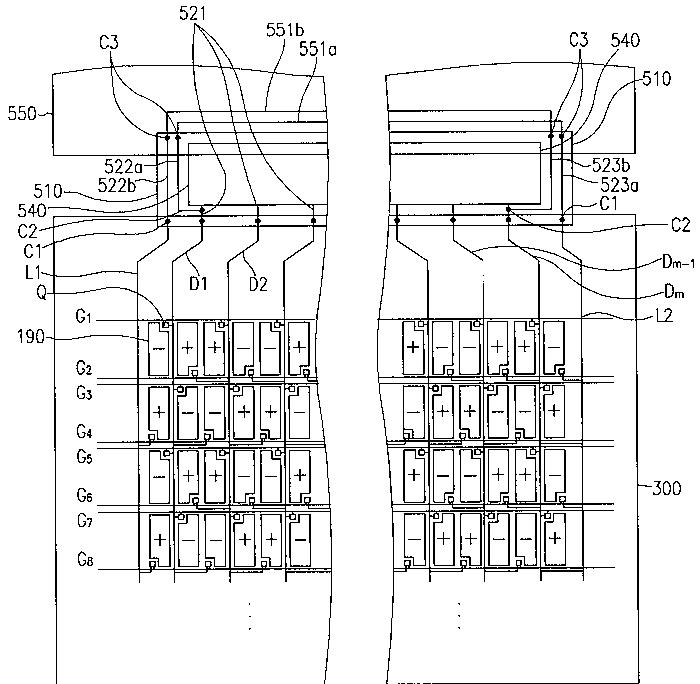
液晶表示装置
授权日
1900-01-01
公开(公告)号
JP2005309438A
申请日
2005-04-19
公开(公告)日
2005-11-04
当前申请(专利权)人
三星電子株式会社
发明人
姜 南 洙 | 文 勝 煥 | 金 聖 萬 | 李 成 榮
简单同族
CN100538783C | CN1722198A | JP2005309438A | JP4785409B2 | KR101039023B1 | KR1020050101673A | TW200609577A | TWI366702B | US10026371 | US20050243044A1 | US20140204006A1 | US20170039965A1 | US20180005593A1 | US8681083 | US9478178 | US9767746
简单同族成员数量
16
简单同族被引用专利总数
87
诉讼案件数
0
法律状态/事件
授权 | 权利转移
抱歉,您的浏览器不支持PDF预览,请点击链接下载PDF文件