专利数据库
统计分析
产业报告
专利数据监控
产业人才
行业动态
产业政策法规
维权援助
个人中心
详情
文本
图像
标题
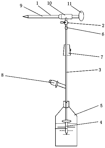
腹腔镜手术用排烟装置
授权日
2019-10-18
公开(公告)号
CN209499916U
申请日
2018-10-26
公开(公告)日
2019-10-18
当前申请(专利权)人
柳州市工人医院
发明人
罗俊青 | 唐翠明 | 练敏 | 陈海奕 | 徐洁 | 梁莉莉 | 李淑芩
简单同族
CN209499916U
简单同族成员数量
1
简单同族被引用专利总数
0
诉讼案件数
0
法律状态/事件
授权
抱歉,您的浏览器不支持PDF预览,请点击链接下载PDF文件