专利数据库
统计分析
产业报告
专利数据监控
产业人才
行业动态
产业政策法规
维权援助
个人中心
详情
文本
图像
标题
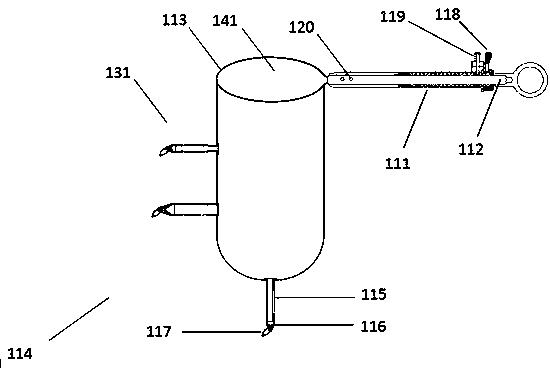
腹腔镜下肿瘤无血隔离防护切除的装置
授权日
2020-06-02
公开(公告)号
CN210644133U
申请日
2019-07-02
公开(公告)日
2020-06-02
当前申请(专利权)人
合肥赫博医疗器械有限责任公司
发明人
凌斌 | 凌安东
简单同族
CN210644133U
简单同族成员数量
1
简单同族被引用专利总数
0
诉讼案件数
0
法律状态/事件
授权
抱歉,您的浏览器不支持PDF预览,请点击链接下载PDF文件