专利数据库
统计分析
产业报告
专利数据监控
产业人才
行业动态
产业政策法规
维权援助
个人中心
详情
文本
图像
标题
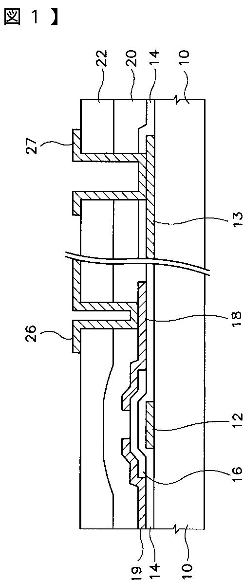
液晶表示装置用薄膜トランジスター基板及びその製造方法
授权日
2011-03-25
公开(公告)号
JP4707692B2
申请日
2007-05-01
公开(公告)日
2011-06-22
当前申请(专利权)人
三星電子株式会社
发明人
金 東 奎
简单同族
CN101819971A | CN101819971B | CN1258117C | CN1385743A | CN1822350A | CN1822350B | JP2002341384A | JP2007293350A | JP3971909B2 | JP4707692B2 | KR100803177B1 | KR1020020087162A | TWI286642B | US20020167009A1 | US20030132443A1 | US20040227864A1 | US6624446 | US6828167 | US7176494
简单同族成员数量
19
简单同族被引用专利总数
114
诉讼案件数
0
法律状态/事件
授权 | 权利转移
抱歉,您的浏览器不支持PDF预览,请点击链接下载PDF文件