专利数据库
统计分析
产业报告
专利数据监控
产业人才
行业动态
产业政策法规
维权援助
个人中心
详情
文本
图像
标题
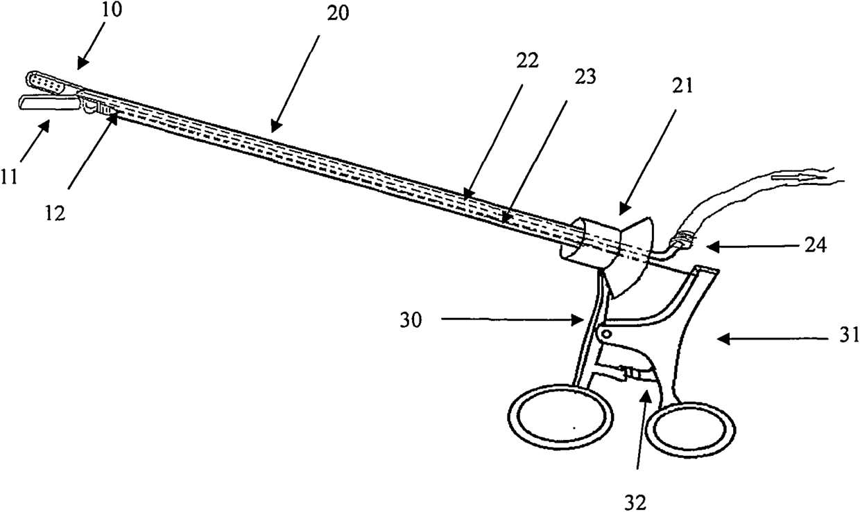
一种腹腔镜手术用门静脉取栓钳
授权日
2016-01-20
公开(公告)号
CN204971456U
申请日
2015-03-31
公开(公告)日
2016-01-20
当前申请(专利权)人
卫旭彪
发明人
卫旭彪 | 李楠 | 程树群 | 薛捷 | 冯爽 | 石洁 | 郭卫星
简单同族
CN204971456U
简单同族成员数量
1
简单同族被引用专利总数
0
诉讼案件数
0
法律状态/事件
未缴年费
抱歉,您的浏览器不支持PDF预览,请点击链接下载PDF文件