专利数据库
统计分析
产业报告
专利数据监控
产业人才
行业动态
产业政策法规
维权援助
个人中心
详情
文本
图像
标题
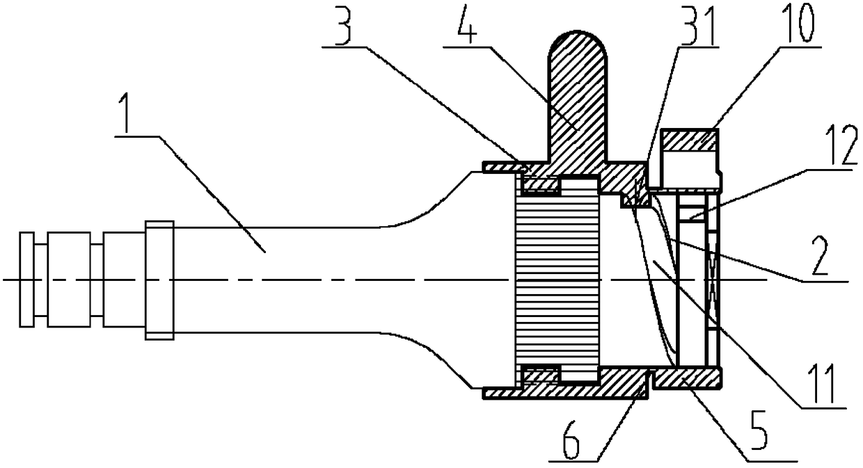
一种带有自毁式锁镜装置的一次性内窥镜镜鞘
授权日
2012-06-27
公开(公告)号
CN202283265U
申请日
2011-09-24
公开(公告)日
2012-06-27
当前申请(专利权)人
天津博朗科技发展有限公司
发明人
齐梦超 | 黎信怡
简单同族
CN202283265U
简单同族成员数量
1
简单同族被引用专利总数
0
诉讼案件数
0
法律状态/事件
授权 | 权利转移
抱歉,您的浏览器不支持PDF预览,请点击链接下载PDF文件