专利数据库
统计分析
产业报告
专利数据监控
产业人才
行业动态
产业政策法规
维权援助
个人中心
详情
文本
图像
标题
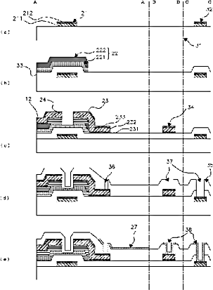
液晶表示装置及びその製造方法
授权日
1900-01-01
公开(公告)号
JP2002341367A
申请日
2001-05-18
公开(公告)日
2002-11-27
当前申请(专利权)人
ゲットナー·ファンデーション·エルエルシー
发明人
前田 明寿 | 田中 宏明 | 木村 茂 | 木村 聡
简单同族
JP2002341367A | JP4920140B2 | KR100531094B1 | KR1020020089157A | TW560073B | US20020176032A1 | US20040171200A1 | US6894311 | US7037766
简单同族成员数量
9
简单同族被引用专利总数
134
诉讼案件数
0
法律状态/事件
未缴年费 | 权利转移
抱歉,您的浏览器不支持PDF预览,请点击链接下载PDF文件