专利数据库
统计分析
产业报告
专利数据监控
产业人才
行业动态
产业政策法规
维权援助
个人中心
详情
文本
图像
标题
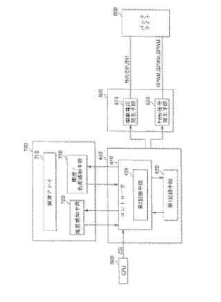
液晶表示装置,液晶表示装置の駆動方法
授权日
1900-01-01
公开(公告)号
JP2005157387A
申请日
2004-11-25
公开(公告)日
2005-06-16
当前申请(专利权)人
三星エスディアイ株式会社
发明人
金 台洙
简单同族
CN100360999C | CN1621903A | JP2005157387A | JP3884040B2 | KR100741963B1 | KR1020050051501A | US20050116921A1 | US7728808
简单同族成员数量
8
简单同族被引用专利总数
90
诉讼案件数
0
法律状态/事件
未缴年费 | 权利转移
抱歉,您的浏览器不支持PDF预览,请点击链接下载PDF文件