专利数据库
统计分析
产业报告
专利数据监控
产业人才
行业动态
产业政策法规
维权援助
个人中心
详情
文本
图像
标题
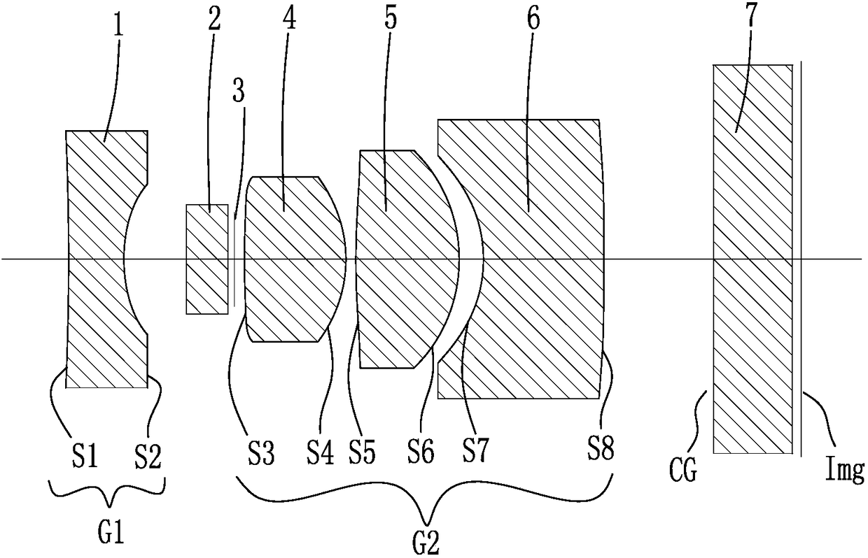
一种用于内窥镜的小口径光学系统
授权日
2018-06-08
公开(公告)号
CN207473186U
申请日
2017-12-04
公开(公告)日
2018-06-08
当前申请(专利权)人
中山市众盈光学有限公司
发明人
范俊辉 | 朱佳巍 | 习宇 | 李璇 | 牛明宇
简单同族
CN207473186U
简单同族成员数量
1
简单同族被引用专利总数
0
诉讼案件数
0
法律状态/事件
授权
抱歉,您的浏览器不支持PDF预览,请点击链接下载PDF文件