专利数据库
统计分析
产业报告
专利数据监控
产业人才
行业动态
产业政策法规
维权援助
个人中心
详情
文本
图像
标题
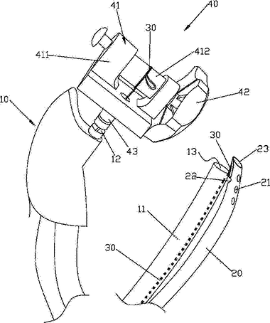
内窥镜吸引装置
授权日
2017-04-12
公开(公告)号
CN206080473U
申请日
2016-07-05
公开(公告)日
2017-04-12
当前申请(专利权)人
中国人民解放军第一七五医院
发明人
温春虹 | 苏军凯 | 赵冰莲 | 张鸣青
简单同族
CN206080473U
简单同族成员数量
1
简单同族被引用专利总数
0
诉讼案件数
0
法律状态/事件
未缴年费
抱歉,您的浏览器不支持PDF预览,请点击链接下载PDF文件