专利数据库
统计分析
产业报告
专利数据监控
产业人才
行业动态
产业政策法规
维权援助
个人中心
详情
文本
图像
标题
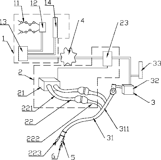
一种自动化内窥镜手术操作系统
授权日
1900-01-01
公开(公告)号
CN104622524A
申请日
2015-02-12
公开(公告)日
2015-05-20
当前申请(专利权)人
苏州华奥医药科技有限公司
发明人
王峥 | 王泽楠
简单同族
CN104622524A
简单同族成员数量
1
简单同族被引用专利总数
0
诉讼案件数
0
法律状态/事件
撤回
抱歉,您的浏览器不支持PDF预览,请点击链接下载PDF文件