专利数据库
统计分析
产业报告
专利数据监控
产业人才
行业动态
产业政策法规
维权援助
个人中心
详情
文本
图像
标题
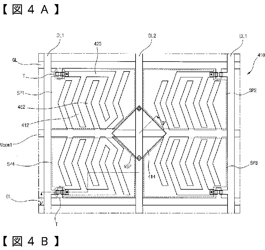
液晶表示装置及びその駆動方法
授权日
2011-12-09
公开(公告)号
JP4881144B2
申请日
2006-12-15
公开(公告)日
2012-02-22
当前申请(专利权)人
エルジー ディスプレイ カンパニー リミテッド
发明人
ジュン-キョ·パク | ヒョン-ソク·チン | ヒョン-ソク·チャン
简单同族
CN100474082C | CN1991535A | JP2007183619A | JP4881144B2 | KR101220205B1 | KR1020070070331A | US20070153197A1 | US20090310045A1 | US7599035 | US8284365
简单同族成员数量
10
简单同族被引用专利总数
51
诉讼案件数
0
法律状态/事件
授权
抱歉,您的浏览器不支持PDF预览,请点击链接下载PDF文件