专利数据库
统计分析
产业报告
专利数据监控
产业人才
行业动态
产业政策法规
维权援助
个人中心
详情
文本
图像
标题
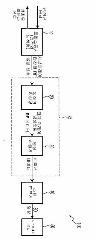
휴대용 3D 초음파 시스템
授权日
1900-01-01
公开(公告)号
KR1020040084919A
申请日
2003-02-17
公开(公告)日
2004-10-06
当前申请(专利权)人
코닌클리케 필립스 엔.브이.
发明人
폴란드,마르끄,데. | 빌손,마르다,헤.
简单同族
AT340365T | AU2003247479A1 | CN100340867C | CN1636151A | DE60308495D1 | DE60308495T2 | EP1488253A1 | EP1488253B1 | JP2005517515A | KR1020040084919A | US20030158482A1 | US7141020 | WO2003071306A1
简单同族成员数量
13
简单同族被引用专利总数
132
诉讼案件数
0
法律状态/事件
驳回
抱歉,您的浏览器不支持PDF预览,请点击链接下载PDF文件