专利数据库
统计分析
产业报告
专利数据监控
产业人才
行业动态
产业政策法规
维权援助
个人中心
详情
文本
图像
标题
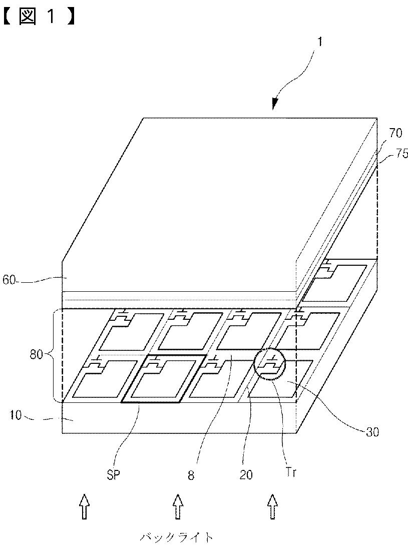
液晶表示装置及びその製造方法
授权日
2010-08-06
公开(公告)号
JP4563341B2
申请日
2006-05-23
公开(公告)日
2010-10-13
当前申请(专利权)人
エルジー ディスプレイ カンパニー リミテッド
发明人
キム ウヒョン | チャン スンス
简单同族
CN1869772A | CN1869772B | JP2006330729A | JP4563341B2 | KR101146524B1 | KR1020060120878A | US20060262262A1 | US7714970
简单同族成员数量
8
简单同族被引用专利总数
115
诉讼案件数
0
法律状态/事件
授权
抱歉,您的浏览器不支持PDF预览,请点击链接下载PDF文件