专利数据库
统计分析
产业报告
专利数据监控
产业人才
行业动态
产业政策法规
维权援助
个人中心
详情
文本
图像
标题
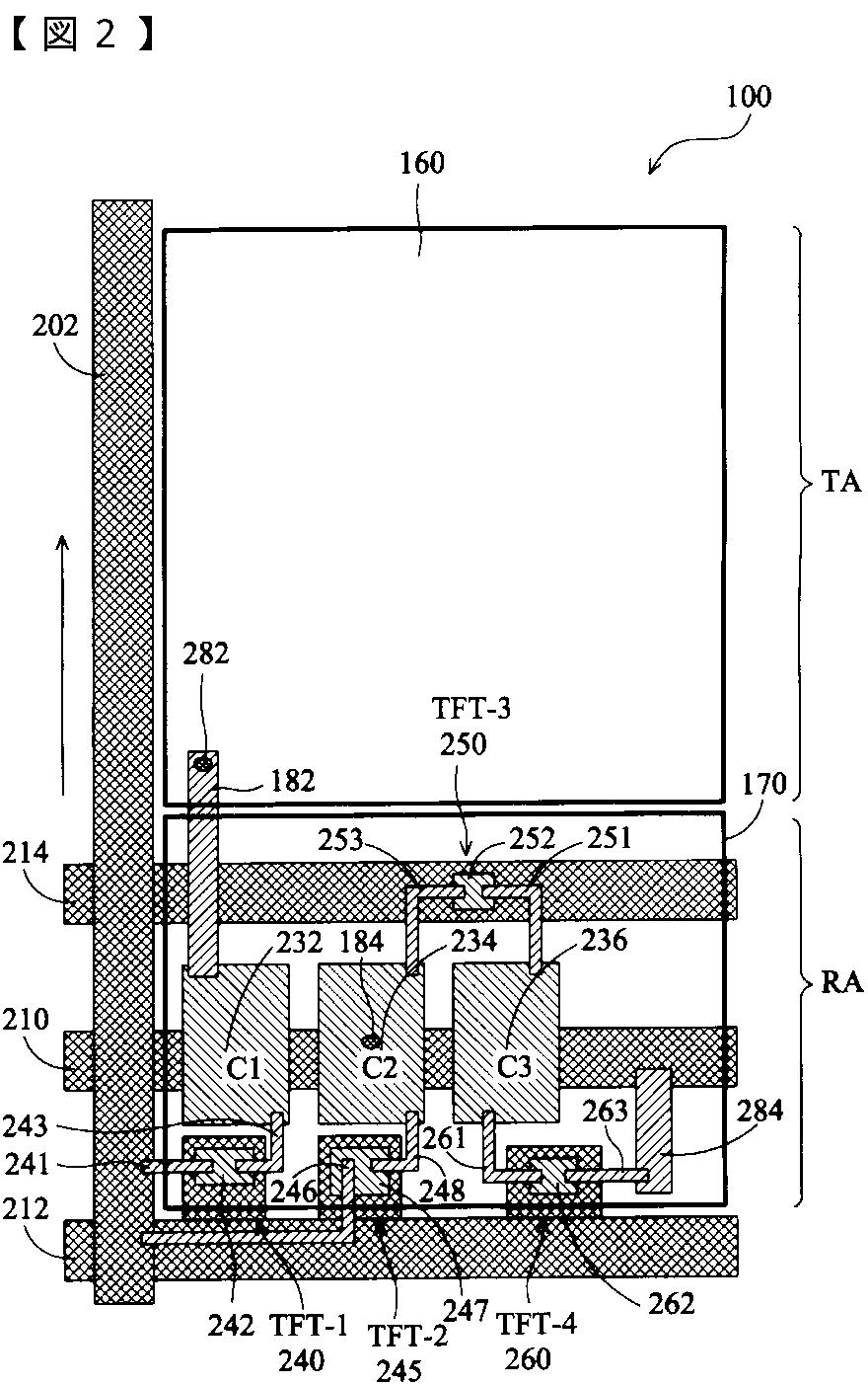
半透過型液晶ディスプレイパネル、半透過型液晶ディスプレイ装置及び半透過型液晶ディスプレイパネルの表示画像品質の改善方法
授权日
2010-10-01
公开(公告)号
JP4597906B2
申请日
2006-05-12
公开(公告)日
2010-12-15
当前申请(专利权)人
友達光電股▲ふん▼有限公司
发明人
林 敬桓 | 蔡 晴宇
简单同族
CN100378521C | CN1800930A | JP2006343733A | JP4597906B2 | TW200643522A | TWI310855B | US20060274008A1 | US20070268418A1 | US7286192 | US7567312
简单同族成员数量
10
简单同族被引用专利总数
88
诉讼案件数
0
法律状态/事件
授权
抱歉,您的浏览器不支持PDF预览,请点击链接下载PDF文件