专利数据库
统计分析
产业报告
专利数据监控
产业人才
行业动态
产业政策法规
维权援助
个人中心
详情
文本
图像
标题
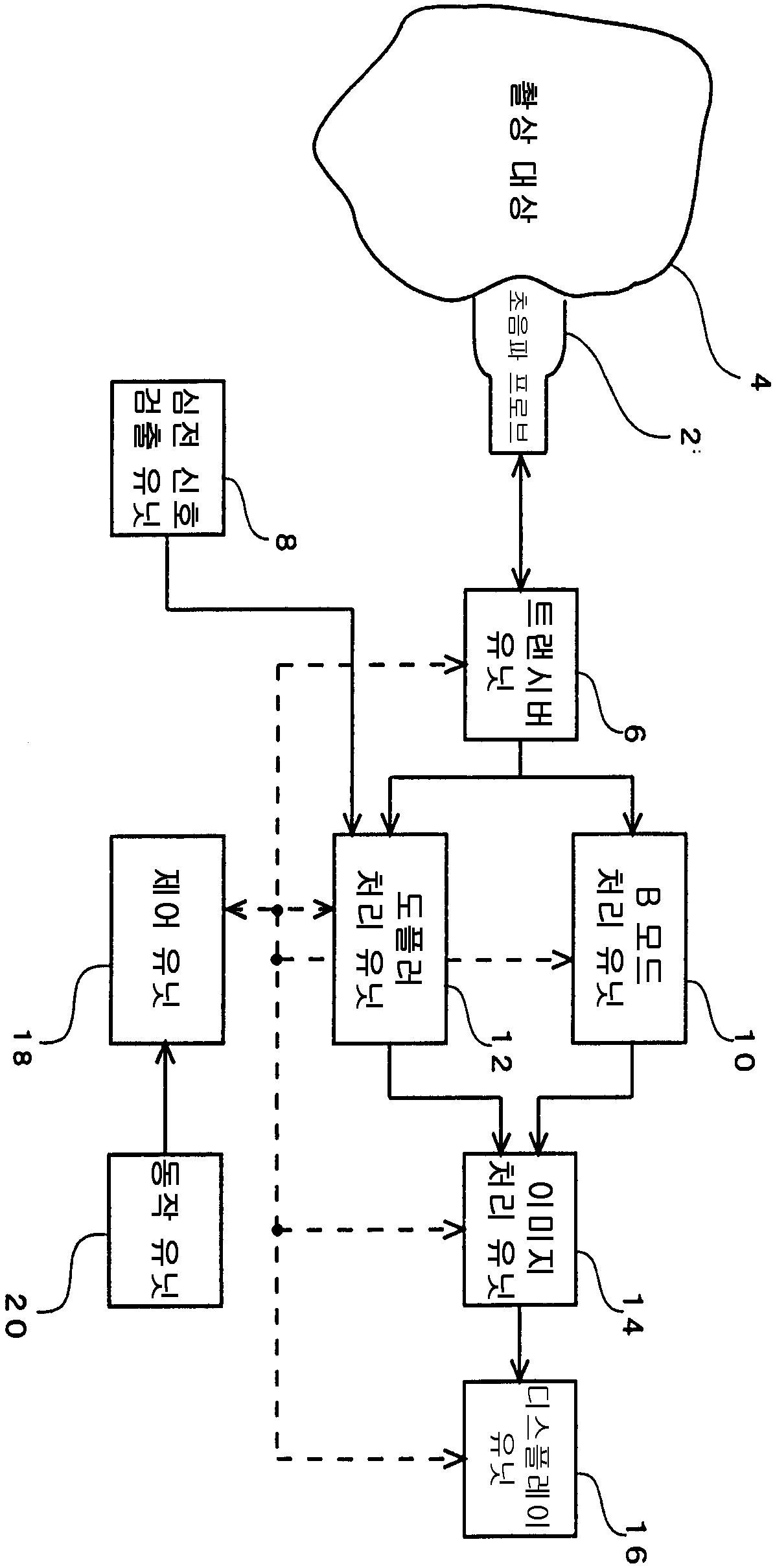
PRF 조절 방법 및 장치, 및 초음파 촬상 장치
授权日
1900-01-01
公开(公告)号
KR1020010060257A
申请日
2000-11-03
公开(公告)日
2001-07-06
当前申请(专利权)人
지이 메디컬 시스템즈 글로발 테크놀러지 캄파니 엘엘씨
发明人
KATAOKA,HIROAKI
简单同族
CN1196447C | CN1298688A | EP1098207A2 | JP2001128976A | JP3696763B2 | KR100749973B1 | KR1020010060257A | US6478742
简单同族成员数量
8
简单同族被引用专利总数
39
诉讼案件数
0
法律状态/事件
未缴年费
抱歉,您的浏览器不支持PDF预览,请点击链接下载PDF文件