专利数据库
统计分析
产业报告
专利数据监控
产业人才
行业动态
产业政策法规
维权援助
个人中心
详情
文本
图像
标题
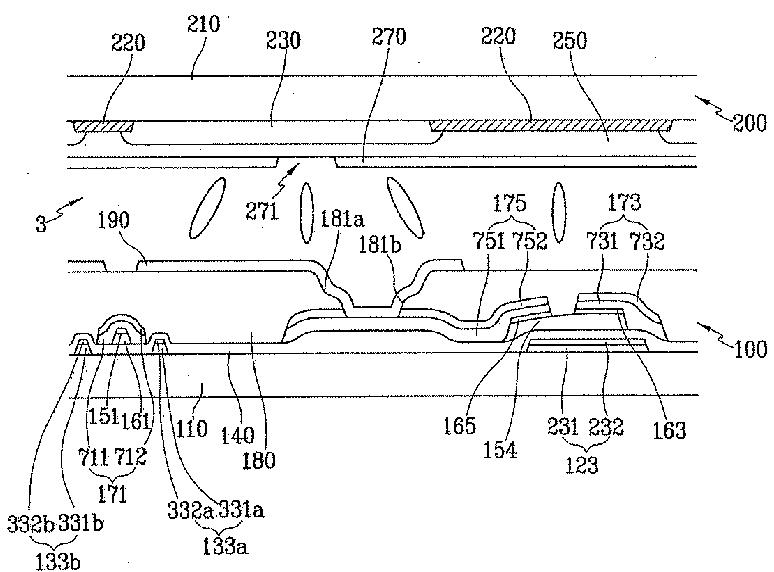
多重ドメイン液晶表示装置及びその薄膜トランジスタ基板
授权日
2011-11-04
公开(公告)号
JP4854181B2
申请日
2004-04-05
公开(公告)日
2012-01-18
当前申请(专利权)人
三星電子株式会社
发明人
李 栢 遠 | 金 東 奎
简单同族
CN100378556C | CN1570744A | JP2004310105A | JP4854181B2 | KR100951348B1 | KR1020040087069A | TW200510838A | TWI359297B | US20040227894A1 | US20060279682A1 | US20060285049A1 | US20100009479A1 | US7113242 | US7667806 | US7675597 | US8149366
简单同族成员数量
16
简单同族被引用专利总数
78
诉讼案件数
0
法律状态/事件
授权 | 权利转移
抱歉,您的浏览器不支持PDF预览,请点击链接下载PDF文件