专利数据库
统计分析
产业报告
专利数据监控
产业人才
行业动态
产业政策法规
维权援助
个人中心
详情
文本
图像
标题
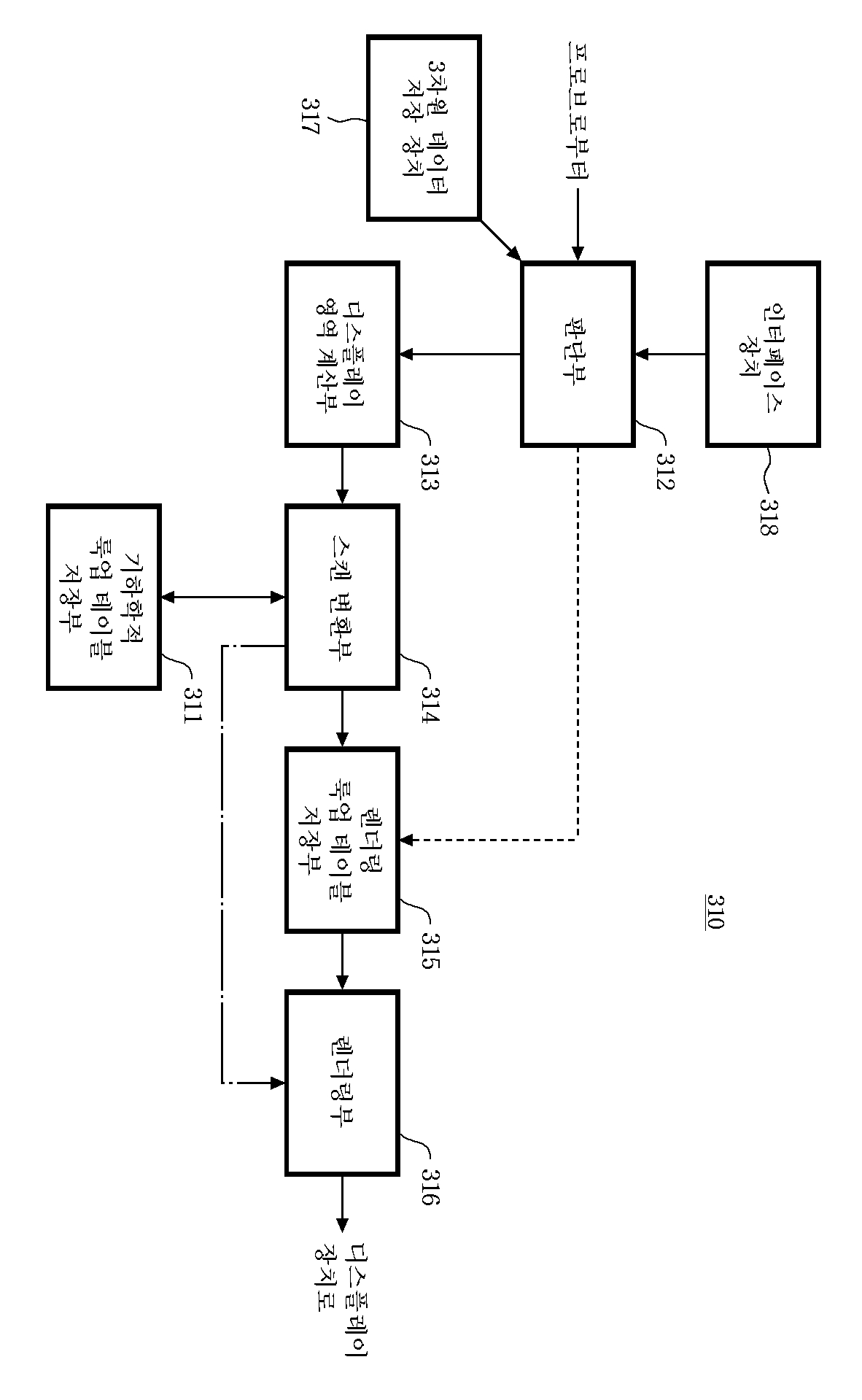
대상체의 3차원 초음파 데이터를 이용하여 그 단면을디스플레이하는 장치 및 방법
授权日
1900-01-01
公开(公告)号
KR1020050069878A
申请日
2004-11-11
公开(公告)日
2005-07-05
当前申请(专利权)人
삼성메디슨 주식회사
发明人
KWON,EUICHUL
简单同族
CN100459940C | CN1636521A | DE602004026150D1 | DE602004031392D1 | EP1550883A2 | EP1550883A3 | EP1550883B1 | EP2180340A1 | EP2180340B1 | JP2005193021A | JP4659446B2 | KR100751852B1 | KR1020050069878A | US20050187474A1 | US7803112
简单同族成员数量
15
简单同族被引用专利总数
54
诉讼案件数
0
法律状态/事件
授权
抱歉,您的浏览器不支持PDF预览,请点击链接下载PDF文件