专利数据库
统计分析
产业报告
专利数据监控
产业人才
行业动态
产业政策法规
维权援助
个人中心
详情
文本
图像
标题
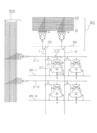
液晶表示装置
授权日
1900-01-01
公开(公告)号
JP2005018088A
申请日
2004-08-23
公开(公告)日
2005-01-20
当前申请(专利权)人
株式会社東芝
发明人
佐 藤 肇 | 石 沢 秀一郎 | 原 田 望 | 落 井 清 文 | 早 川 誠 幸 | 青 木 良 朗
简单同族
JP2005018088A
简单同族成员数量
1
简单同族被引用专利总数
54
诉讼案件数
0
法律状态/事件
驳回 | 权利转移
抱歉,您的浏览器不支持PDF预览,请点击链接下载PDF文件