专利数据库
统计分析
产业报告
专利数据监控
产业人才
行业动态
产业政策法规
维权援助
个人中心
详情
文本
图像
标题
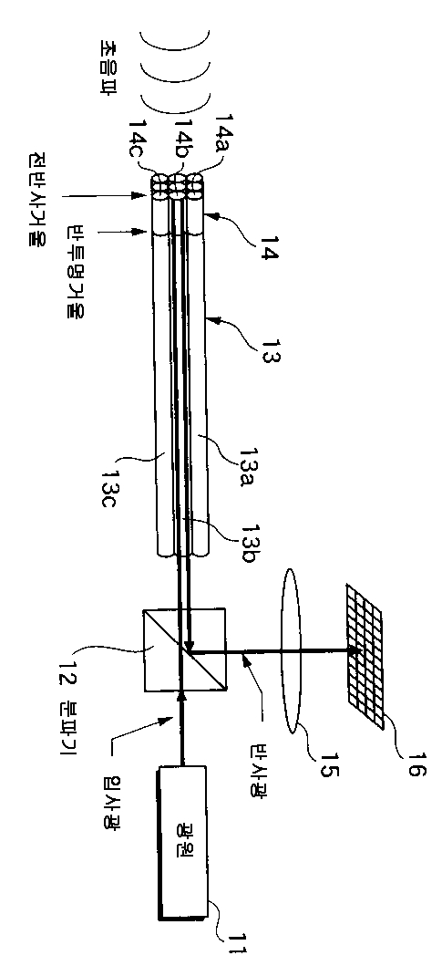
초음파용 탐촉자 및 초음파 수신장치, 그리고 초음파진단장치
授权日
2008-01-18
公开(公告)号
KR100797899B1
申请日
2001-04-28
公开(公告)日
2008-01-24
当前申请(专利权)人
후지필름 가부시키가이샤
发明人
OGAWA,EIJI
简单同族
CN100364482C | CN100397052C | CN1185485C | CN1321889A | CN1606967A | CN1607388A | DE60132845D1 | DE60132845T2 | EP1154269A2 | EP1154269A3 | EP1154269B1 | KR100797899B1 | KR1020010100925A | US20010042410A1 | US6647792
简单同族成员数量
15
简单同族被引用专利总数
39
诉讼案件数
0
法律状态/事件
未缴年费
抱歉,您的浏览器不支持PDF预览,请点击链接下载PDF文件