专利数据库
统计分析
产业报告
专利数据监控
产业人才
行业动态
产业政策法规
维权援助
个人中心
详情
文本
图像
标题
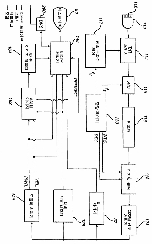
디지털 비디오 이미지 마킹을 구비한 초음파 진단 이미징시스템
授权日
1900-01-01
公开(公告)号
KR1020010071213A
申请日
2000-02-14
公开(公告)日
2001-07-28
当前申请(专利权)人
코닌클리케 필립스 엔.브이.
发明人
밀러에드워드에이 | 존스필립브이 | 버튼제프리더블유
简单同族
CN1296705A | EP1078535A1 | JP2002538864A | KR1020010071213A | US6231508 | WO2000054518A1
简单同族成员数量
6
简单同族被引用专利总数
56
诉讼案件数
0
法律状态/事件
撤回
抱歉,您的浏览器不支持PDF预览,请点击链接下载PDF文件