专利数据库
统计分析
产业报告
专利数据监控
产业人才
行业动态
产业政策法规
维权援助
个人中心
详情
文本
图像
标题
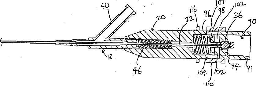
Connector for securing ultrasound catheter to transducer
授权日
1900-01-01
公开(公告)号
US20140148833A1
申请日
2014-01-30
公开(公告)日
2014-05-29
当前申请(专利权)人
FLOWCARDIA, INC.
发明人
NITA, HENRY | TRAN, MARTINOS
简单同族
US10349964 | US20050283080A1 | US20100280389A1 | US20140148833A1 | US20160367284A1 | US20190282326A1 | US7758510 | US8641630 | US9433433
简单同族成员数量
9
简单同族被引用专利总数
81
诉讼案件数
0
法律状态/事件
授权
抱歉,您的浏览器不支持PDF预览,请点击链接下载PDF文件