专利数据库
统计分析
产业报告
专利数据监控
产业人才
行业动态
产业政策法规
维权援助
个人中心
详情
文本
图像
标题
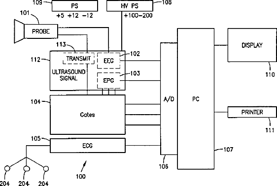
Ultrasound apparatus and method for tissue resonance analysis
授权日
2001-12-11
公开(公告)号
US6328694
申请日
2000-05-26
公开(公告)日
2001-12-11
当前申请(专利权)人
INTA-MEDICS, LTD.
发明人
MICHAELI, DAVID
简单同族
AU2001058699A1 | CA2409850A1 | EP1289408A2 | EP1289408A4 | IL152982D0 | JP2004519259A | MXPA02011496A | US20030013956A1 | US6328694 | WO2001089358A1 | WO2001089358A2 | WO2001089358A3
简单同族成员数量
12
简单同族被引用专利总数
113
诉讼案件数
0
法律状态/事件
未缴年费 | 权利转移
抱歉,您的浏览器不支持PDF预览,请点击链接下载PDF文件