专利数据库
统计分析
产业报告
专利数据监控
产业人才
行业动态
产业政策法规
维权援助
个人中心
详情
文本
图像
标题
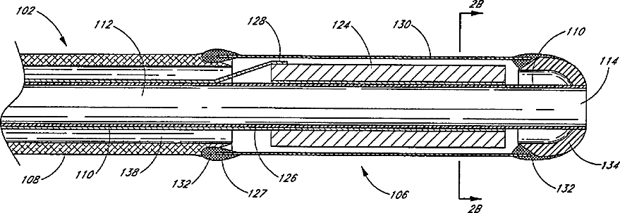
Method of manufacturing ultrasound catheters
授权日
2010-08-17
公开(公告)号
US7774933
申请日
2006-05-04
公开(公告)日
2010-08-17
当前申请(专利权)人
EKOS CORPORATION
发明人
WILSON, RICHARD R. | ABRAHAMSON, TIM | OLIVER, LEONARD R.
简单同族
AU2003212481A1 | AU2003212481A8 | US20040068189A1 | US20060201604A1 | US20060206039A1 | US20060224142A1 | US20100331763A1 | US7774933 | WO2003072165A2 | WO2003072165A3
简单同族成员数量
10
简单同族被引用专利总数
118
诉讼案件数
0
法律状态/事件
授权 | 质押
抱歉,您的浏览器不支持PDF预览,请点击链接下载PDF文件