专利数据库
统计分析
产业报告
专利数据监控
产业人才
行业动态
产业政策法规
维权援助
个人中心
详情
文本
图像
标题
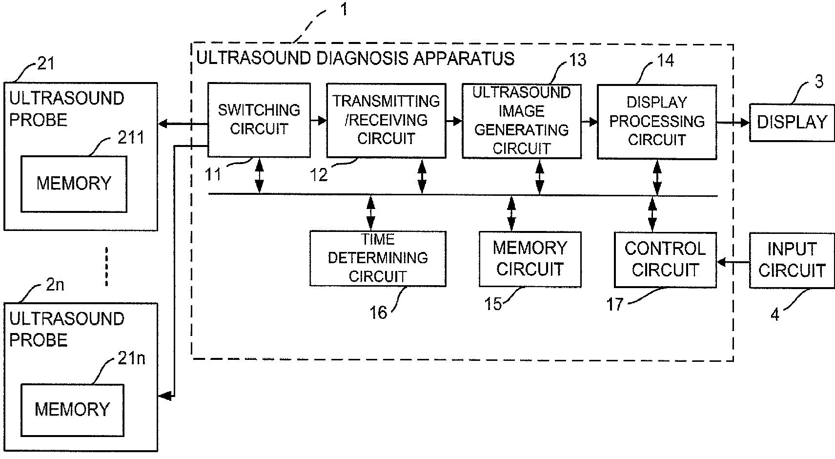
Ultrasound diagnosis apparatus and medical image processing method
授权日
1900-01-01
公开(公告)号
US20180103926A1
申请日
2017-10-12
公开(公告)日
2018-04-19
当前申请(专利权)人
CANON MEDICAL SYSTEMS CORPORATION
发明人
MORIKAWA, KOICHI | HONGOU, HIRONOBU | NAGANO, GEN | UNAYAMA, KENICHI | KAMIYAMA, SATOSHI
简单同族
US20180103926A1
简单同族成员数量
1
简单同族被引用专利总数
0
诉讼案件数
0
法律状态/事件
实质审查 | 权利转移
抱歉,您的浏览器不支持PDF预览,请点击链接下载PDF文件