专利数据库
统计分析
产业报告
专利数据监控
产业人才
行业动态
产业政策法规
维权援助
个人中心
详情
文本
图像
标题
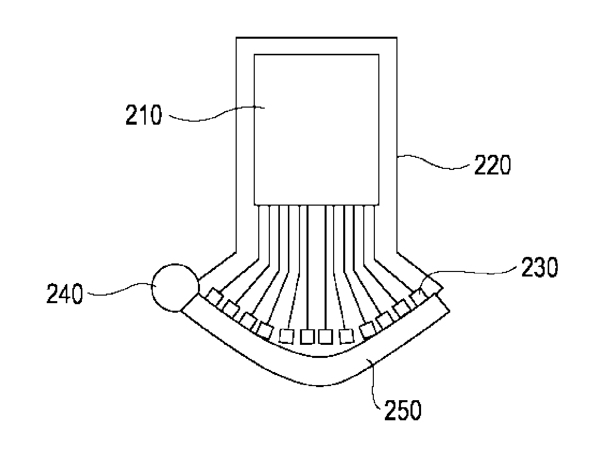
Ultrasonic probe and inspection apparatus equipped with the ultrasonic probe
授权日
1900-01-01
公开(公告)号
US20190104945A1
申请日
2018-12-04
公开(公告)日
2019-04-11
当前申请(专利权)人
CANON KABUSHIKI KAISHA
发明人
NAGAE, KENICHI | ASAO, YASUFUMI | FUKUTANI, KAZUHIKO | NAKAGAWA, KATSUMI
简单同族
US10165948 | US20090005685A1 | US20130197345A1 | US20170112385A1 | US20190104945A1 | US9572498
简单同族成员数量
6
简单同族被引用专利总数
109
诉讼案件数
0
法律状态/事件
实质审查
抱歉,您的浏览器不支持PDF预览,请点击链接下载PDF文件