专利数据库
统计分析
产业报告
专利数据监控
产业人才
行业动态
产业政策法规
维权援助
个人中心
详情
文本
图像
标题
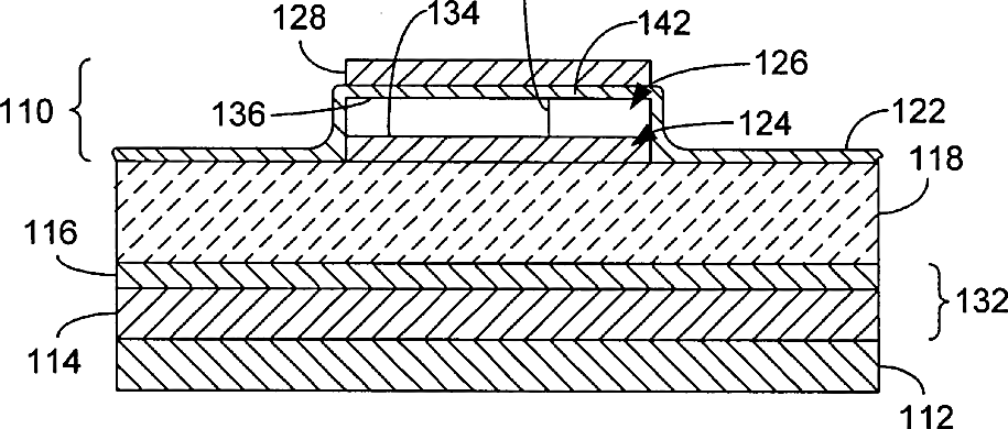
Micro-machined ultrasonic transducer (MUT) array
授权日
2003-07-01
公开(公告)号
US6585653
申请日
2001-07-31
公开(公告)日
2003-07-01
当前申请(专利权)人
KONINKLIJKE PHILIPS ELECTRONICS N.V.
发明人
MILLER, DAVID G.
简单同族
AT342871T | CN1294075C | CN1535243A | DE60215512D1 | DE60215512T2 | EP1414739A2 | EP1414739B1 | JP2005510264A | KR1020040028630A | US20030028109A1 | US6585653 | WO2003011749A2 | WO2003011749A3
简单同族成员数量
13
简单同族被引用专利总数
124
诉讼案件数
0
法律状态/事件
未缴年费 | 权利转移
抱歉,您的浏览器不支持PDF预览,请点击链接下载PDF文件