专利数据库
统计分析
产业报告
专利数据监控
产业人才
行业动态
产业政策法规
维权援助
个人中心
详情
文本
图像
标题
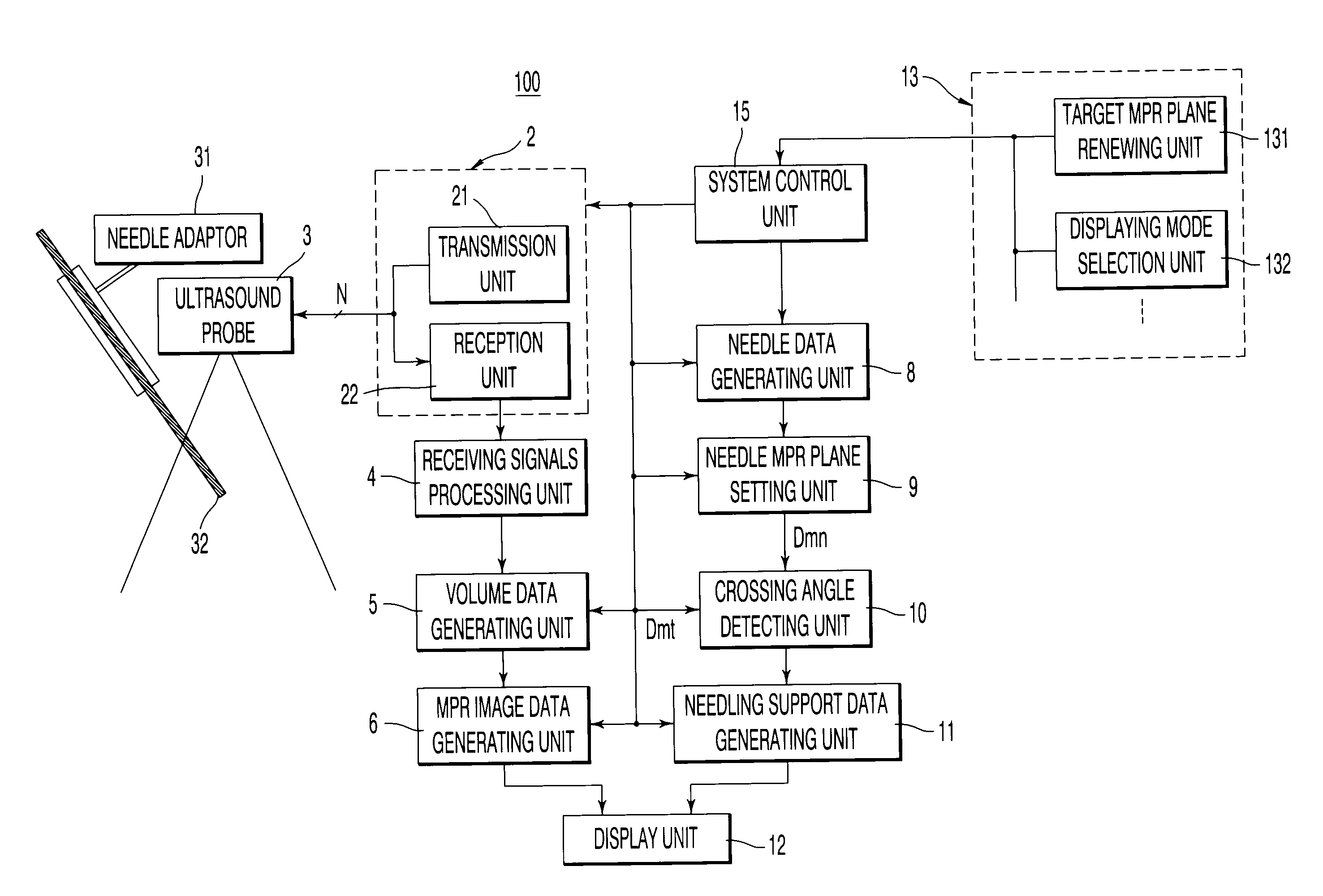
Ultrasound diagnosis apparatus and a centesis supporting method
授权日
1900-01-01
公开(公告)号
US20100240997A1
申请日
2010-03-23
公开(公告)日
2010-09-23
当前申请(专利权)人
TOSHIBA MEDICAL SYSTEMS CORPORATION
发明人
ICHIOKA, KENICHI | SUMI, ATSUSHI | KAKEE, AKIHIRO
简单同族
CN101843502A | CN101843502B | JP2010220770A | JP5495593B2 | US20100240997A1 | US8568323
简单同族成员数量
6
简单同族被引用专利总数
45
诉讼案件数
0
法律状态/事件
授权 | 权利转移
抱歉,您的浏览器不支持PDF预览,请点击链接下载PDF文件