专利数据库
统计分析
产业报告
专利数据监控
产业人才
行业动态
产业政策法规
维权援助
个人中心
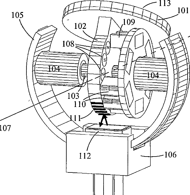
详情
文本
图像
标题
Mechanism and system for 3-Dimensional scanning of an ultrasound beam
授权日
1900-01-01
公开(公告)号
US20030018269A1
申请日
2002-06-24
公开(公告)日
2003-01-23
当前申请(专利权)人
PREXION CORPORATION
发明人
ANGELSEN, BJORN A.J. | JOHANSEN, TONNI F. | KJODE, STIG B.
简单同族
US20030018269A1 | US6780153
简单同族成员数量
2
简单同族被引用专利总数
55
诉讼案件数
0
法律状态/事件
未缴年费 | 权利转移
抱歉,您的浏览器不支持PDF预览,请点击链接下载PDF文件