专利数据库
统计分析
产业报告
专利数据监控
产业人才
行业动态
产业政策法规
维权援助
个人中心
详情
文本
图像
标题
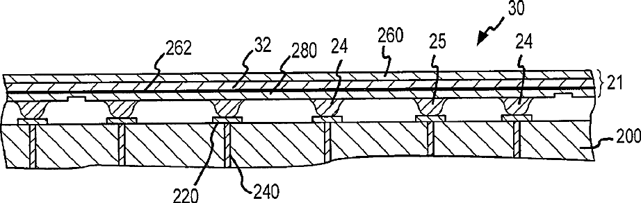
Ultrasonic membrane transducer for an ultrasonic diagnostic probe
授权日
1900-01-01
公开(公告)号
US20030205947A1
申请日
2002-05-01
公开(公告)日
2003-11-06
当前申请(专利权)人
KONINKLIJKE PHILIPS ELECTRONICS N.V.
发明人
KLEE, MAREIKE KATHARINE | SCHMITZ, GEORG | FRASER, JOHN D.
简单同族
AT330716T | AU2003219464A1 | CN100438992C | CN1649678A | DE60306367D1 | DE60306367T2 | EP1503871A1 | EP1503871B1 | JP2005523816A | JP4317123B2 | US20030205947A1 | US6784600 | WO2003092916A1
简单同族成员数量
13
简单同族被引用专利总数
92
诉讼案件数
0
法律状态/事件
未缴年费 | 权利转移
抱歉,您的浏览器不支持PDF预览,请点击链接下载PDF文件