专利数据库
统计分析
产业报告
专利数据监控
产业人才
行业动态
产业政策法规
维权援助
个人中心
详情
文本
图像
标题
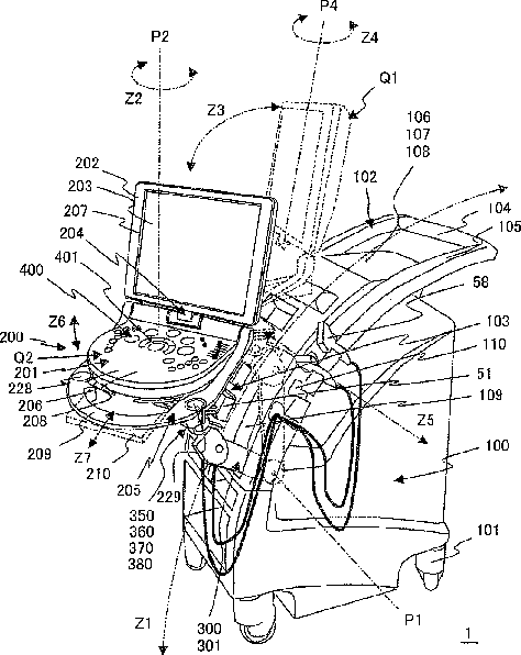
Ultrasonograph
授权日
2012-12-18
公开(公告)号
US8333698
申请日
2009-12-10
公开(公告)日
2012-12-18
当前申请(专利权)人
HITACHI, LTD.
发明人
NINOMIYA, ATSUSHI | KASAI, YOSHIMI | INOUE, MASARU
简单同族
CN101541246A | CN101541246B | CN101703408A | CN101703408B | CN102512201A | CN102512201B | EP2092892A1 | EP2092892A4 | JP2008126015A | JP2008126015A5 | JP4393506B2 | US20100094130A1 | US20100152588A1 | US8333698 | US8348845 | WO2008065961A1
简单同族成员数量
16
简单同族被引用专利总数
114
诉讼案件数
0
法律状态/事件
授权 | 权利转移
抱歉,您的浏览器不支持PDF预览,请点击链接下载PDF文件