专利数据库
统计分析
产业报告
专利数据监控
产业人才
行业动态
产业政策法规
维权援助
个人中心
详情
文本
图像
标题
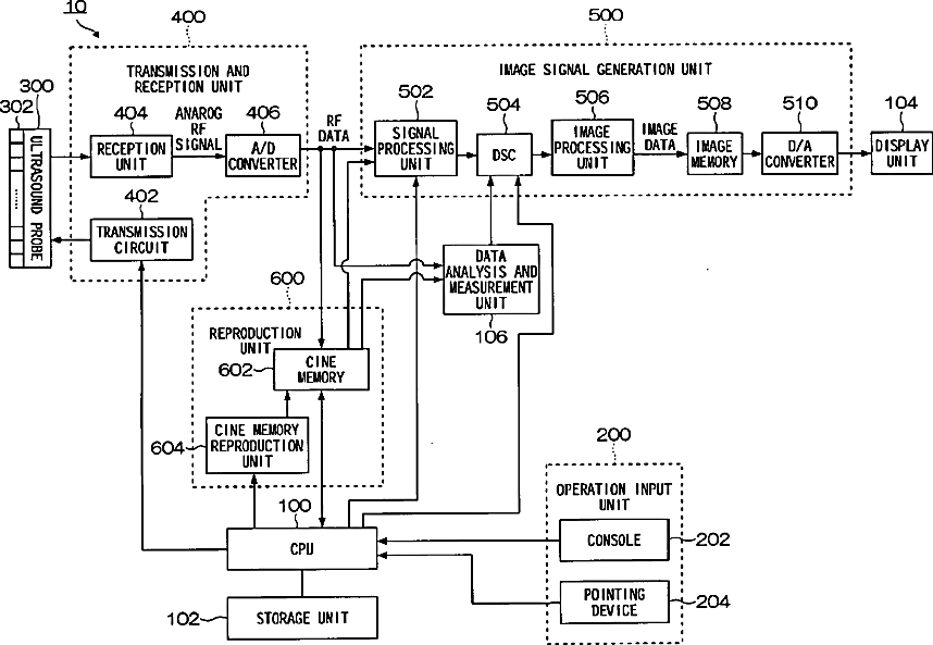
Ultrasound diagnostic apparatus and ultrasound diagnostic method
授权日
1900-01-01
公开(公告)号
US20100076312A1
申请日
2009-09-16
公开(公告)日
2010-03-25
当前申请(专利权)人
FUJIFILM CORPORATION
发明人
KATSUYAMA, KIMITO
简单同族
EP2177164A1 | JP2010099452A | JP2010099452A5 | US20100076312A1 | US20130131516A1 | US8372008 | US9241690
简单同族成员数量
7
简单同族被引用专利总数
114
诉讼案件数
0
法律状态/事件
授权 | 权利转移
抱歉,您的浏览器不支持PDF预览,请点击链接下载PDF文件