专利数据库
统计分析
产业报告
专利数据监控
产业人才
行业动态
产业政策法规
维权援助
个人中心
详情
文本
图像
标题
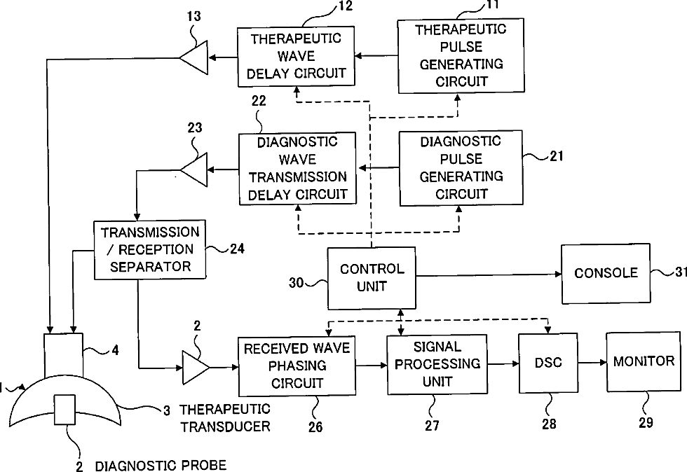
Ultrasonic therapeutic probe and ultrasonic device
授权日
1900-01-01
公开(公告)号
US20040068186A1
申请日
2002-01-22
公开(公告)日
2004-04-08
当前申请(专利权)人
HITACHI MEDICAL CORPORATION
发明人
ISHIDA, KAZUNARI | SATO, YUTAKA
简单同族
JP2002209905A | US20040068186A1 | WO2002056779A1
简单同族成员数量
3
简单同族被引用专利总数
112
诉讼案件数
0
法律状态/事件
撤回 | 权利转移
抱歉,您的浏览器不支持PDF预览,请点击链接下载PDF文件