专利数据库
统计分析
产业报告
专利数据监控
产业人才
行业动态
产业政策法规
维权援助
个人中心
详情
文本
图像
标题
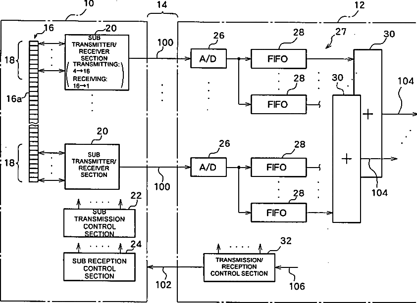
Ultrasound diagnosis apparatus
授权日
1900-01-01
公开(公告)号
US20040267135A1
申请日
2004-06-16
公开(公告)日
2004-12-30
当前申请(专利权)人
HITACHI, LTD.
发明人
TAKEUCHI, HIDEKI
简单同族
CN1575772A | CN1575772B | DE602004002523D1 | DE602004002523T2 | EP1491913A2 | EP1491913A3 | EP1491913B1 | US20040267135A1 | US7217243
简单同族成员数量
9
简单同族被引用专利总数
107
诉讼案件数
0
法律状态/事件
未缴年费 | 权利转移
抱歉,您的浏览器不支持PDF预览,请点击链接下载PDF文件