专利数据库
统计分析
产业报告
专利数据监控
产业人才
行业动态
产业政策法规
维权援助
个人中心
详情
文本
图像
标题
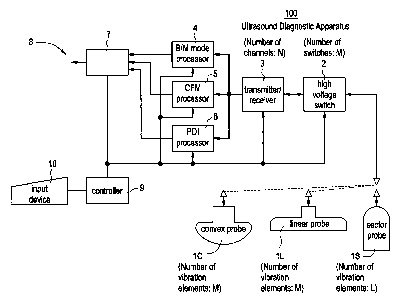
Method of sector probe driving and ultrasound diagnostic apparatus
授权日
2010-08-17
公开(公告)号
US7775112
申请日
2004-06-07
公开(公告)日
2010-08-17
当前申请(专利权)人
GE MEDICAL SYSTEMS GLOBAL TECHNOLOGY COMPANY, LLC
发明人
AMEMIYA, SHINICHI
简单同族
CN100376215C | CN1572257A | DE102004027796A1 | JP2004358105A | JP3924263B2 | KR101087812B1 | KR1020040105608A | US20040260179A1 | US7775112
简单同族成员数量
9
简单同族被引用专利总数
86
诉讼案件数
0
法律状态/事件
未缴年费 | 权利转移
抱歉,您的浏览器不支持PDF预览,请点击链接下载PDF文件