专利数据库
统计分析
产业报告
专利数据监控
产业人才
行业动态
产业政策法规
维权援助
个人中心
详情
文本
图像
标题
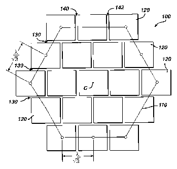
Hex packed two dimensional ultrasonic transducer arrays
授权日
2002-10-22
公开(公告)号
US6469422
申请日
2002-01-30
公开(公告)日
2002-10-22
当前申请(专利权)人
KONINKLIJKE PHILIPS ELECTRONICS N.V.
发明人
FRASER, JOHN DOUGLAS
简单同族
EP1165258A1 | JP2003520526A | US20020130591A1 | US6384516 | US6469422 | WO2001053009A1
简单同族成员数量
6
简单同族被引用专利总数
118
诉讼案件数
0
法律状态/事件
未缴年费 | 权利转移
抱歉,您的浏览器不支持PDF预览,请点击链接下载PDF文件