专利数据库
统计分析
产业报告
专利数据监控
产业人才
行业动态
产业政策法规
维权援助
个人中心
详情
文本
图像
标题
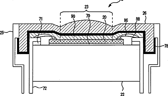
Ultrasonic probe and ultrasonic diagnostic apparatus using the same
授权日
2014-06-24
公开(公告)号
US8758253
申请日
2007-11-06
公开(公告)日
2014-06-24
当前申请(专利权)人
HITACHI, LTD.
发明人
SANO, SHUZO | SAKO, AKIFUMI | KOBAYASHI, TAKASHI | IZUMI, MIKIO
简单同族
CN101536547A | CN101536547B | EP2091265A1 | EP2091265A4 | EP3270607A1 | JP2012135622A | JP5009301B2 | JP5384678B2 | JPWO2008056643A1 | US20100036257A1 | US8758253 | WO2008056643A1
简单同族成员数量
12
简单同族被引用专利总数
91
诉讼案件数
0
法律状态/事件
授权 | 权利转移
抱歉,您的浏览器不支持PDF预览,请点击链接下载PDF文件