专利数据库
统计分析
产业报告
专利数据监控
产业人才
行业动态
产业政策法规
维权援助
个人中心
详情
文本
图像
标题
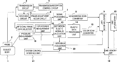
Ultrasonograph for Creating Elastic Image
授权日
1900-01-01
公开(公告)号
US20090143676A1
申请日
2006-10-10
公开(公告)日
2009-06-04
当前申请(专利权)人
HITACHI MEDICAL CORPORATION
发明人
MATSUMURA, TAKESHI
简单同族
CN101291629A | CN101291629B | EP1938754A1 | EP1938754A4 | JP5303147B2 | JPWO2007046272A1 | JPWO2007046272A6 | US20090143676A1 | WO2007046272A1
简单同族成员数量
9
简单同族被引用专利总数
100
诉讼案件数
0
法律状态/事件
撤回 | 权利转移
抱歉,您的浏览器不支持PDF预览,请点击链接下载PDF文件