专利数据库
统计分析
产业报告
专利数据监控
产业人才
行业动态
产业政策法规
维权援助
个人中心
详情
文本
图像
标题
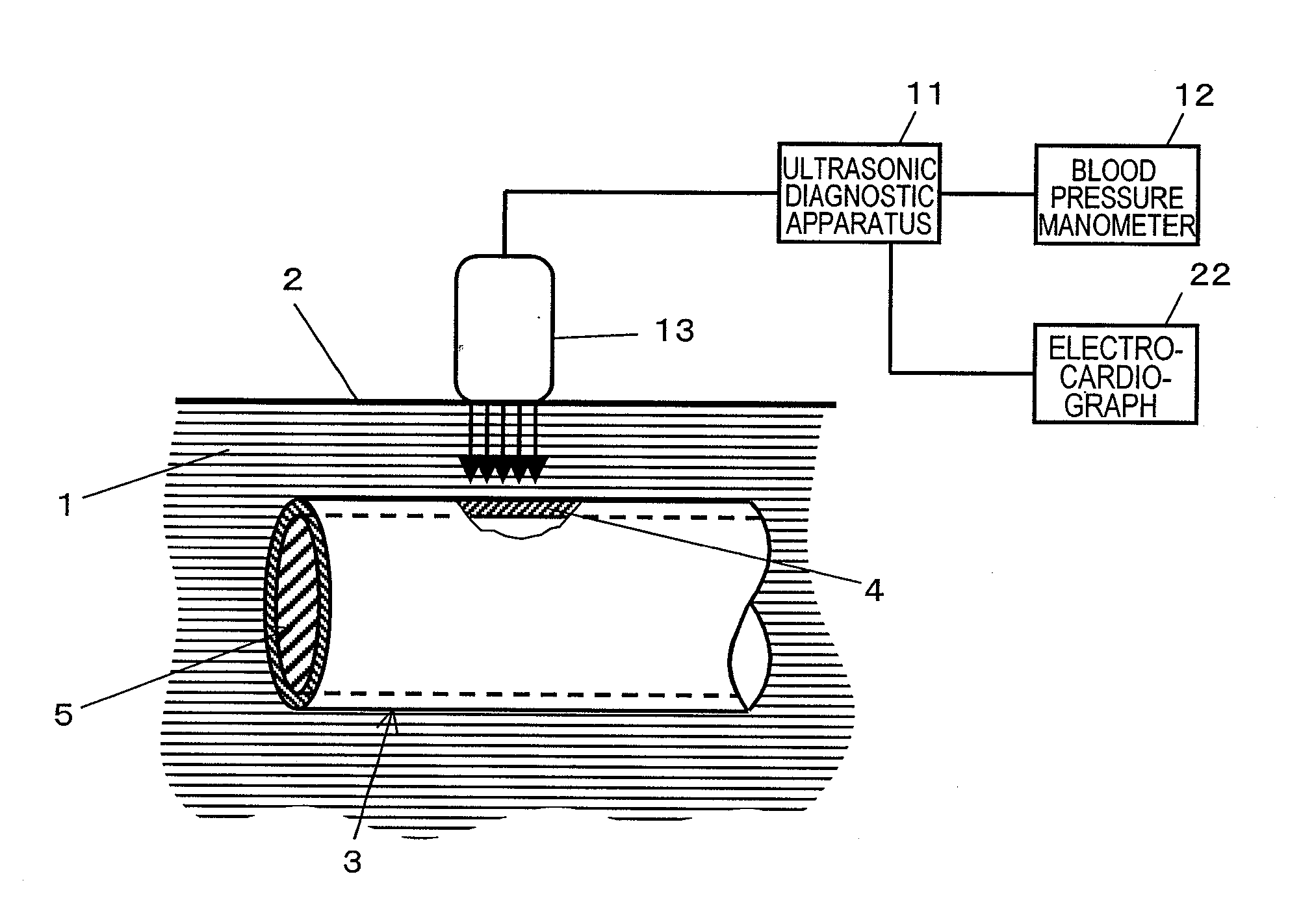
Ultrasonographic device
授权日
1900-01-01
公开(公告)号
US20100185090A1
申请日
2008-07-14
公开(公告)日
2010-07-22
当前申请(专利权)人
PANASONIC CORPORATION
发明人
SUZUKI, TAKAO | KATO, MAKOTO | KADOKURA, MASAHIKO | FUKUMOTO, TAKENORI
简单同族
JPWO2009013871A1 | US20100185090A1 | WO2009013871A1
简单同族成员数量
3
简单同族被引用专利总数
43
诉讼案件数
0
法律状态/事件
撤回 | 权利转移
抱歉,您的浏览器不支持PDF预览,请点击链接下载PDF文件