专利数据库
统计分析
产业报告
专利数据监控
产业人才
行业动态
产业政策法规
维权援助
个人中心
详情
文本
图像
标题
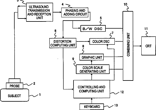
Method of displaying elastic image and diagnostic ultrasound system
授权日
2014-05-27
公开(公告)号
US8734351
申请日
2005-08-04
公开(公告)日
2014-05-27
当前申请(专利权)人
HITACHI, LTD.
发明人
WAKI, KOJI | SHIINA, TSUYOSHI | YAMAKAWA, MAKOTO | MAEDA, MASARU
简单同族
CN101065067A | CN101065067B | EP1800603A1 | EP1800603A4 | EP1800603B1 | JP3991282B2 | JPWO2006013916A1 | US20080071174A1 | US8734351 | WO2006013916A1
简单同族成员数量
10
简单同族被引用专利总数
119
诉讼案件数
0
法律状态/事件
未缴年费 | 权利转移
抱歉,您的浏览器不支持PDF预览,请点击链接下载PDF文件