专利数据库
统计分析
产业报告
专利数据监控
产业人才
行业动态
产业政策法规
维权援助
个人中心
详情
文本
图像
标题
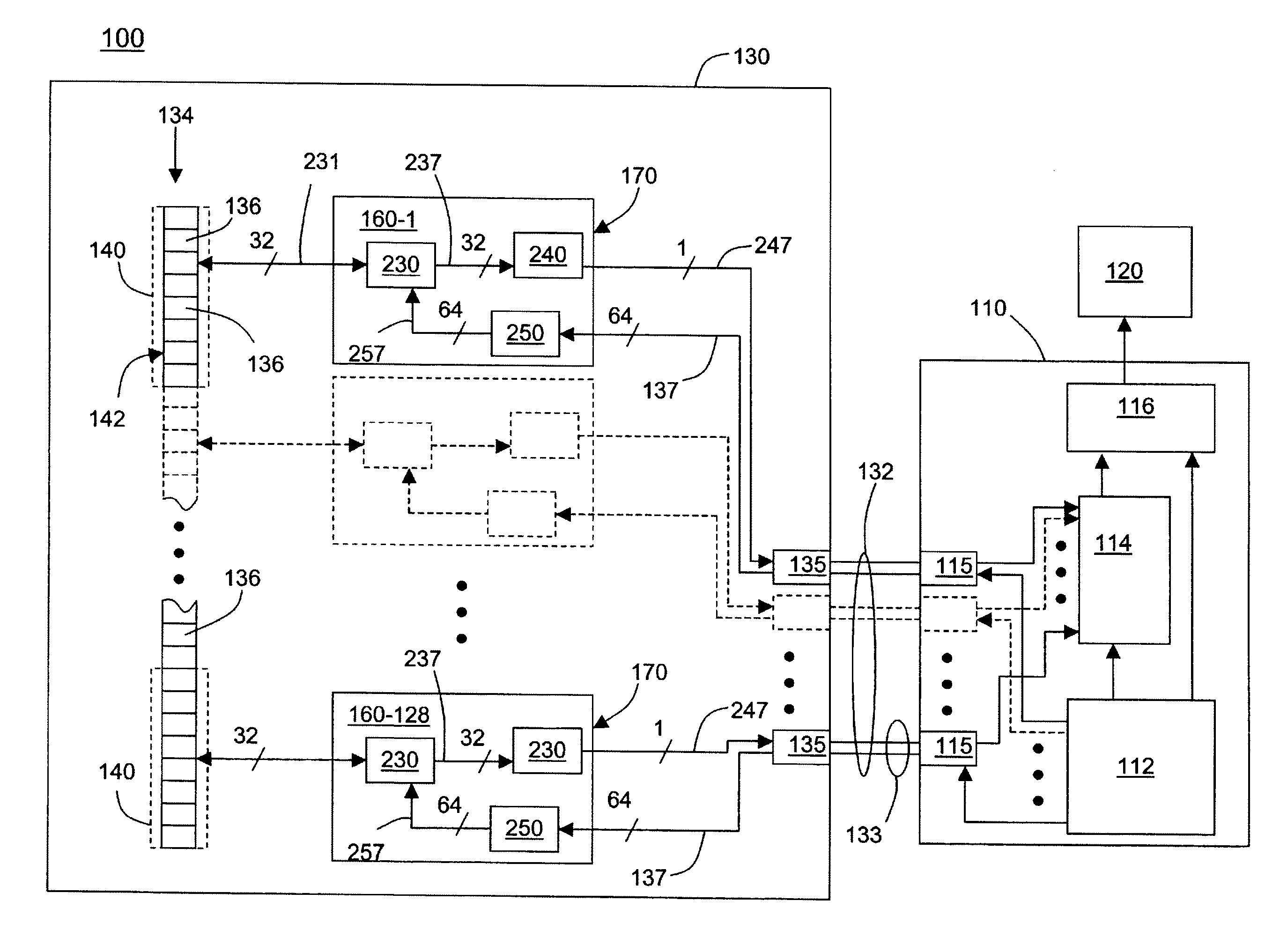
Ultrasound imaging system
授权日
1900-01-01
公开(公告)号
US20100174195A1
申请日
2010-03-17
公开(公告)日
2010-07-08
当前申请(专利权)人
GENERAL ELECTRIC COMPANY
发明人
HAIDER, BRUNO HANS | KRISTOFFERSEN, KJELL | FISHER, RAYETTE ANN | HALVORSROD, THOMAS | WODNICKI, ROBERT
简单同族
FR2911967A1 | FR2911967B1 | JP2008188423A | JP2008188423A5 | JP5530597B2 | US20080183078A1 | US20100174195A1 | US7687976 | US7952260
简单同族成员数量
9
简单同族被引用专利总数
120
诉讼案件数
0
法律状态/事件
授权
抱歉,您的浏览器不支持PDF预览,请点击链接下载PDF文件