专利数据库
统计分析
产业报告
专利数据监控
产业人才
行业动态
产业政策法规
维权援助
个人中心
详情
文本
图像
标题
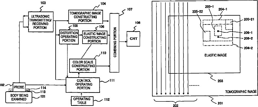
Ultrasonic diagnostic apparatus
授权日
2011-01-18
公开(公告)号
US7871380
申请日
2005-08-23
公开(公告)日
2011-01-18
当前申请(专利权)人
HITACHI, LTD.
发明人
WAKI, KOJI | MURAYAMA, NAOYUKI
简单同族
CN100563582C | CN101005806A | EP1782736A1 | EP1782736A4 | EP1782736B1 | JP4762144B2 | JPWO2006022238A1 | US20080188743A1 | US7871380 | WO2006022238A1
简单同族成员数量
10
简单同族被引用专利总数
44
诉讼案件数
0
法律状态/事件
授权 | 权利转移
抱歉,您的浏览器不支持PDF预览,请点击链接下载PDF文件