专利数据库
统计分析
产业报告
专利数据监控
产业人才
行业动态
产业政策法规
维权援助
个人中心
详情
文本
图像
标题
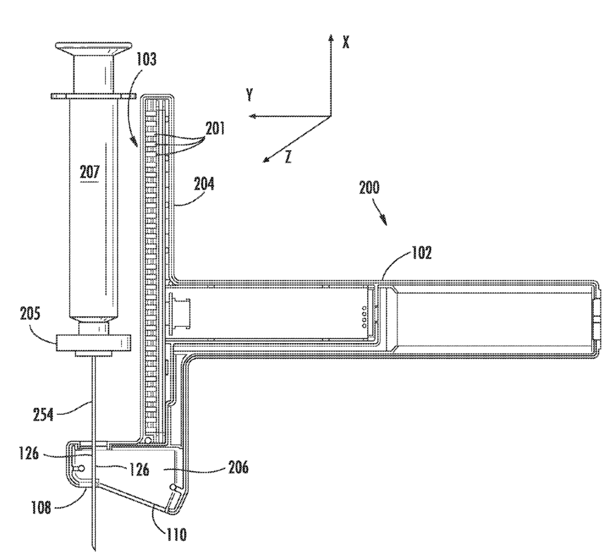
Probe and system for use with an ultrasound device
授权日
1900-01-01
公开(公告)号
US20130041254A1
申请日
2012-10-11
公开(公告)日
2013-02-14
当前申请(专利权)人
SOMA RESEARCH, LLC
发明人
HAGY, M. DEXTER | RIDLEY, STEPHEN F.
简单同族
AU2011305699A1 | CA2811935A1 | EP2618740A1 | JP2013537837A | JP2013537837A5 | JP2017035489A | JP2018089408A | JP2020054841A | JP6298126B2 | US10610195 | US20120071759A1 | US20130041254A1 | US20170086782A1 | US8425425 | WO2012040077A1
简单同族成员数量
15
简单同族被引用专利总数
102
诉讼案件数
0
法律状态/事件
授权 | 质押 | 权利转移
抱歉,您的浏览器不支持PDF预览,请点击链接下载PDF文件