专利数据库
统计分析
产业报告
专利数据监控
产业人才
行业动态
产业政策法规
维权援助
个人中心
详情
文本
图像
标题
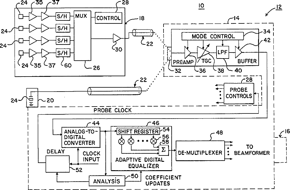
Receive circuit for ultrasound imaging
授权日
1900-01-01
公开(公告)号
US20040002652A1
申请日
2002-06-27
公开(公告)日
2004-01-01
当前申请(专利权)人
SIEMENS MEDICAL SOLUTIONS USA, INC.
发明人
PHELPS, ROBERT N. | PETERSEN, DAVID A. | LAZENBY, JOHN C. | HUNT, ROBERT P.
简单同族
US20040002652A1 | US6875178
简单同族成员数量
2
简单同族被引用专利总数
97
诉讼案件数
0
法律状态/事件
授权 | 权利转移
抱歉,您的浏览器不支持PDF预览,请点击链接下载PDF文件