专利数据库
统计分析
产业报告
专利数据监控
产业人才
行业动态
产业政策法规
维权援助
个人中心
详情
文本
图像
标题
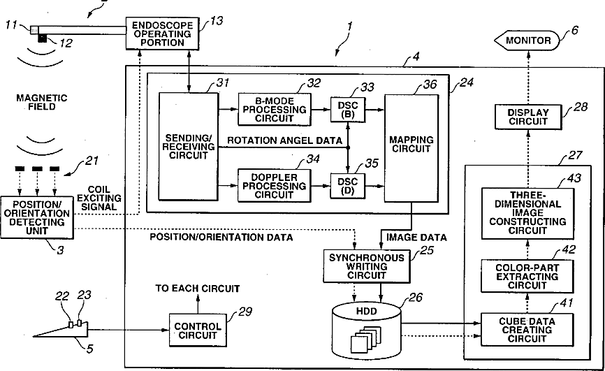
Ultrasonic diagnosis apparatus
授权日
1900-01-01
公开(公告)号
US20040249287A1
申请日
2003-06-04
公开(公告)日
2004-12-09
当前申请(专利权)人
OLYMPUS CORPORATION
发明人
KAWASHIMA, TOMONAO | SABATA, TOMOHIRO
简单同族
JP2003180697A | US20040249287A1
简单同族成员数量
2
简单同族被引用专利总数
45
诉讼案件数
0
法律状态/事件
撤回 | 权利转移
抱歉,您的浏览器不支持PDF预览,请点击链接下载PDF文件