专利数据库
统计分析
产业报告
专利数据监控
产业人才
行业动态
产业政策法规
维权援助
个人中心
详情
文本
图像
标题
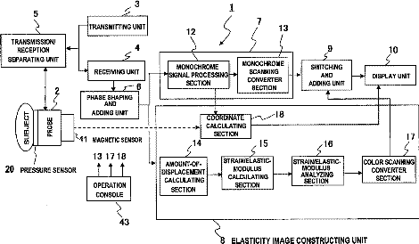
Ultrasound Diagnostic Apparatus and Method of Displaying Ultrasound Image
授权日
1900-01-01
公开(公告)号
US20090124903A1
申请日
2005-11-17
公开(公告)日
2009-05-14
当前申请(专利权)人
HITACHI, LTD.
发明人
OSAKA, TAKASHI
简单同族
CN100539951C | CN101060813A | EP1815796A1 | EP1815796A4 | JP5113387B2 | JPWO2006054635A1 | US20090124903A1 | US8708912 | WO2006054635A1
简单同族成员数量
9
简单同族被引用专利总数
105
诉讼案件数
0
法律状态/事件
未缴年费 | 权利转移
抱歉,您的浏览器不支持PDF预览,请点击链接下载PDF文件