专利数据库
统计分析
产业报告
专利数据监控
产业人才
行业动态
产业政策法规
维权援助
个人中心
详情
文本
图像
标题
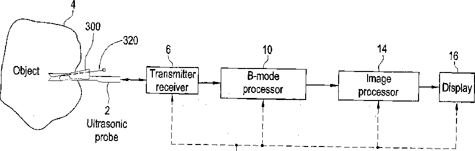
Puncturing needle guide, ultrasonic probe, and ultrasound imaging apparatus
授权日
1900-01-01
公开(公告)号
US20030195425A1
申请日
2003-04-07
公开(公告)日
2003-10-16
当前申请(专利权)人
GE MEDICAL SYSTEMS GLOBAL TECHNOLOGY CO. LLC
发明人
ITO, HIROKI
简单同族
CN100369586C | CN1449723A | JP2003299654A | JP3967950B2 | KR100806449B1 | KR1020030081084A | US20030195425A1 | US6743177
简单同族成员数量
8
简单同族被引用专利总数
111
诉讼案件数
0
法律状态/事件
未缴年费 | 权利转移
抱歉,您的浏览器不支持PDF预览,请点击链接下载PDF文件