专利数据库
统计分析
产业报告
专利数据监控
产业人才
行业动态
产业政策法规
维权援助
个人中心
详情
文本
图像
标题
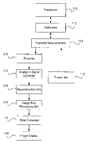
Adaptive receive aperture for ultrasound image reconstruction
授权日
2005-03-15
公开(公告)号
US6866632
申请日
2002-09-18
公开(公告)日
2005-03-15
当前申请(专利权)人
SHENZHEN MINDRAY BIO-MEDICAL ELECTRONICS CO., LTD.
发明人
CHOU, CHING-HUA | MCLANGHLIN, GLEN W. | MO, LARRY Y. L. | JI, TING-LAN
简单同族
US20050131296A1 | US20070038102A1 | US6866632 | US7087020 | US7510529
简单同族成员数量
5
简单同族被引用专利总数
100
诉讼案件数
0
法律状态/事件
授权 | 权利转移
抱歉,您的浏览器不支持PDF预览,请点击链接下载PDF文件