专利数据库
统计分析
产业报告
专利数据监控
产业人才
行业动态
产业政策法规
维权援助
个人中心
详情
文本
图像
标题
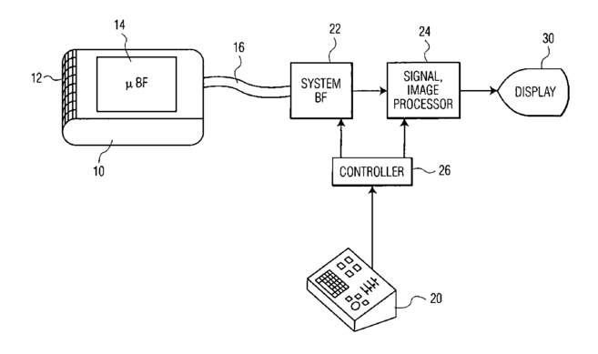
Linear array ultrasound transducer with microbeamformer
授权日
2012-04-24
公开(公告)号
US8161817
申请日
2007-02-20
公开(公告)日
2012-04-24
当前申请(专利权)人
KONINKLIJKE PHILIPS ELECTRONICS N.V.
发明人
ROBINSON, ANDREW | FREEMAN, STEVEN | SAVORD, BERNARD
简单同族
CN101395493A | EP1994428A1 | JP2009528114A | JP5101529B2 | US20090016163A1 | US8161817 | WO2007099473A1
简单同族成员数量
7
简单同族被引用专利总数
100
诉讼案件数
0
法律状态/事件
授权 | 权利转移
抱歉,您的浏览器不支持PDF预览,请点击链接下载PDF文件