专利数据库
统计分析
产业报告
专利数据监控
产业人才
行业动态
产业政策法规
维权援助
个人中心
详情
文本
图像
标题
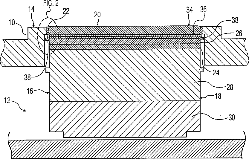
Transducer assembly for ultrasound probes
授权日
1900-01-01
公开(公告)号
US20050165313A1
申请日
2005-01-21
公开(公告)日
2005-07-28
当前申请(专利权)人
KONINKLIJKE PHILIPS ELECTRONICS, N.V.
发明人
BYRON, JACQUELYN M.B. | KNOWLES, HEATHER BECK
简单同族
US20050165313A1
简单同族成员数量
1
简单同族被引用专利总数
85
诉讼案件数
0
法律状态/事件
撤回 | 权利转移
抱歉,您的浏览器不支持PDF预览,请点击链接下载PDF文件